変圧器の性能、安全な操作方法、技術パラメータを紹介します : S 9\ S 11\ S 13 液体充填変圧器

このマニュアルは、定格容量が3150KVA以下、電圧レベルが35KV以下の、当社が製造する完全に密閉されたオイルに浸した電源変圧器に適用されます。
1.使用方法 · 特徴
完全に密閉されたオイル浸漬変圧器は、一般的な電力変圧器に適していることに加えて、石油化学、冶金、繊維、軽工業、および高湿度でメンテナンスが不便な企業、鉱山、農村地域に特に適しています。
この製品は、オイル貯蔵キャビネットや吸湿剤などのオイル保護装置をキャンセルして、変圧器オイルが空気と接触しないようにします。すべてのシールは、通常の状況下で、真空オイル注入を使用して、優れた特殊ゴムで密封されます。変圧器は何の処理もせずに20年間継続的に使用することができ、低いメンテナンスコストがこの製品の主な特徴であり、操作の信頼性が向上し、耐用年数が延長されます。
2.モデルの説明
S□-M-□ □
S-3つのフェーズ
□ — パフォーマンスレベルコード ( 11, 13, 20 )
M-密封される
□ — 定格容量 ( kVA )
□ — 高電圧電圧レベル ( 10kV )
3.交通
1.輸送と設置の間、変圧器を持ち上げる際、変圧器の最終アセンブリが変圧器油の量で満たされた後、燃料タンクの 4 つのクレーンを同時に使用して変圧器の総重量を担う必要があります。この要件を満たすことができない場合は、特殊なビームリフティングトランスを使用する必要があります。
2.この製品の締結部品は、信頼性の高い締結を保証するためにすべての緩みナットです。しかし、輸送中は、変圧器が十分な安定性を確保する必要があり、変圧器の傾きは 15 ° を超えてはいけません。持ち上げるときは、優しく持ち上げ、解放し、持ち上げ機器がない条件下で、激しい振動を防ぐために地面をゆっくりと動かす必要があります。
4.受け入れと保管
1.変圧器を受け取った後、ユーザーはすぐに製品モデルとネームプレートに従って受け取った仕様を確認し、仕様が注文契約と一致しているかどうかを確認し、変圧器の各部分に損傷があるかどうかを慎重に確認する必要があります。信号温度計、ケーシングなどの脆弱な部品などが破損しており、信号温度計のホースが平らになって壊れているかどうか。ケーシングに油の浸透があるかどうかに応じて判断される磁器スリーブの完全性に特別な注意を払い、変圧器の各シール部分に油漏れまたは油漏れがあるかどうかを確認する必要があります。
2.変圧器がすぐに設置されて稼働させず、長期間保管する必要がある場合は、すべてのシールを密封し、スペアパーツを適切に保管し、保管状況を定期的にチェックする必要があります。
5.変圧器の設置 · 保守
1.変圧器設置
1.1フォークリフトなどの取扱ツールを使用して、トランスを指定された設置位置にスムーズに運びます。
1.2取付け中にケーシングなどの摩耗部品を損傷させないように注意し、燃料タンクや塗料フィルムを傷つけないようにしてください。
2.変圧器運転前の点検 · 判断基準
2.1完全密封された油浸式変圧器をユーザーに輸送した後、コアを点検する必要はありません。
2.2変圧器の試験は、「電気装置工学における電気機器の引渡し試験基準」に従って行う必要があります。
2.2.1 巻線とスリーブの DC 抵抗を測定し、同じ温度で工場で測定された値と比較して 2% を超えてはいけません。
2.2.2 すべてのタップの変化を確認し、工場のデータと比較して有意な差がないはずです。
2.2.3 変圧器の結合グループ名称がネームプレートマークと一致しているかどうかを確認します。
2.2.4 絶縁抵抗値は、同じ温度での工場出荷時の値に近いもので、表 1 の値を下回ってはいけません。
表 1 絶縁抵抗値 ( M Ω )
温度
| 20 | 30 | 40 | 50 | 60 |
<6 | 400 | 200 | 100 | 50 | 25 |
6 歳以上 20 歳未満 | 800 | 400 | 200 | 100 | 50 |
20 人以上 60 人以上 | 1000 | 500 | 250 | 125 | 65 |
记述: 1.テストの下のコイルは测定の间に接地されます。2.2500Vメガオームメーターまたは特別なメーターを使用します。
2.2.5 巻線とケーシングの耐電圧試験電圧の外部構造周波数は表 2 に示されています。
表2高電圧電気機器の電圧に耐える絶縁パワー周波数の実験基準
定格電圧 (KV). | 3 | 6 | 10 | 15 | 20 | 35 |
工場実験的価値 | 18 | 25 | 35 | 45 | 55 | 85 |
ハンドオーバー実験値 | 15 | 21 | 30 | 38 | 47 | 72 |
2.2.6 変圧器油の従来の試験項目は、新油の要件に従って検査します ( 運転前に ) 、表 3 を参照してください。
表3操作に入る前の変圧器油の実験項目と基準
シリアル番号 | アイテム | 操作に入れる前のタンクの新しいオイル |
1 | 外観 | 透明で不純物のない |
2 | 引火点 C ( 密封 ) | 140 |
3 | 水分 Mg/1 (Ppm). | ≤20 |
4 | 酸値 MgKOH / g | <0.03 |
5 | 故障電圧 KV (2.5Mm) オイルギャップ | 35KV 以下 : ≥ 35 |
6 | 媒体は接線方向に失われます 8% ( 90 ° C ) 。 | ≤0.7 |
7 | 界面張力 MN/M (25 ℃)。 | ≥35 |
8 | 水溶性酸 (PH). | ≥5.4 |
2.2.7 油サンプル採取方法
(1)直径約 80 — 100 Mm のガラス試験カップと約 100 ml のシリンジバレルをすき倒し乾燥させます。
(2)燃料タンク底部のオイルサンプルバルブカバーをねじ外します。
(3)油サンプルバルブの出口と清潔な紙または布で周辺を拭きます。
(4)ガラスの試験カップをバルブの出口に合わせます。
(5)レンチを使用してオイルサンプルバルブのボルトをゆっくりと外してオイルをカップに流れさせ、同時にシリンジ針をオイルサンプルバルブのオイル出口に入れ、オイルサンプルを引きます。
(6)油サンプルの量は、実験プロジェクトのニーズに応じてユーザーが決定します。
(7)オイルサンプルを採取したら、オイルサンプルバルブボルトとバルブカバーを締めます。
(8)変圧器ボックスカバーの上部にある油射出パイプカバーを開き、同じモデル、同じ重量の変圧器オイルをゆっくりと注ぎ、試験に合格して油射出パイプに注ぎ、油射出パイプカバーを締め、油サンプルと油補充プロセスが完了します。
3.変圧器の保守
3.1完全密閉油浸変圧器の保守 · 検査基準は、表 4 、表 5 に示す。
表4定期検査基準
シリアル番号 | 検査アイテム | 検査の必需品 | サイクル | 判断基準 | 発言 |
1 | 絶縁抵抗 | 使用 2500V の揺れメートルまたはA同じ効果の測定器 地面への位相を測定する | 不規則 | 35KV 側: 270MΩ 10KV 側: 200M Ω 1KV サイド:50MΩ | 後深刻な過電圧または重大な事故、この実験 が実行されます |
2 | 绝縁オイル | クロマトグラフィー分析 | 6年 | GB7252-87 「ガイドライン 分析と 判断 解散の 変圧器油中のガス “ | 後深刻な過電圧 または重大な事故、この 実験は期間によって制限されません |
3 | 温度计 | 1.内部点検 ( 錆 · 水分吸収 ) 2.ガス条件 3.動作を示す温度表示 4.温度評価 | 2年 | 1.さびなし 2.損傷なし 3.通常の動作を示す ( 優しくタップ ) 4.85 °C | |
4 | オイルレベルゲージ | 1.外部検査 2.油面が油でいっぱいかどうか | 1年 | 1.錆無し、いいえ オイルの汚れガラス 2.油面線が見えるかどうか | オイルレベルゲージはありません この项目は点検されません |
5 | ケーシング | 1.ターミナルステータス 2 。スリーブステータス 3.油は漏れますか ? | 2年 | 1.緩みや変色はありません 2.損傷や変形がない 3.油漏れまたは空気漏れ無し | 異常があれば、それはべきです 時間内に対処する |
6 | 接地ワイヤー | 険しい状態 | 2年 | ゆるみ、壊れたワイヤーなし | |
7 | 圧力リリースバルブ | 1.シールが油性であるかどうか 2.リードワイヤー接続のかどうか は、会社 | 2年 | 1.油の浸出無し 2.異常がある場合は、時間内に対処する必要があります。 | 漏れがある場合 タイムリーに対処する |
表5毎日の検査基準
シリアル番号 | 検査アイテム | 検査の必需品 | サイクル | 判断基準 | 発言 |
1 | ボディ外観 | 汚れ、亀裂、油の浸透はありません | 1月 | 汚れがないはずです、亀裂、オイル漏れなど | 異常があれば、それはべきです 時間内に対処する |
2 | 音と臭い の ボディ | 異常な音と匂い ( 聴覚、匂い ) | 1月 | 1. 音と振動 励起によって引き起こされる通常 2.異常 サウンド導電性部分の固定ナットのゆるみや排出など 3.断熱材の燃焼 特別な臭いがあります | 異常があれば, 原因を調査し、それに対処します タイムリーな方法 |
3 | 体温 | 温度上昇が正常かどうか | 1月 | 現在のロード変圧器によって耐えられる 油の温度上昇に関連しています 表面 | 異常があれば, 原因を調査する そして対処する A で タイムリーな方法 |
4 | ボディオイルの表面 | 油面が正常かどうか ( 油面表 ) | 1月 | オイルはオイルレベルゲージで満たされるべきです | があればオイルレベルゲージなし, スポット検査はできません |
5 | 現在 | 現在が許容値を超えているかどうか 三相電流のバランスが取れているかどうか (アンメーター) | 1月 | 各フェーズの電流は、定格範囲内でほぼバランスが取れています | If the 不均衡は深刻です調整すべきです 時間内に |
3.2油浸出処理 · 油補給方法
3.2.1 シールのオイル漏れが漏れた場合は、スパイラルをレンチで締め、オイル汚れを乾燥させることができます。
3.2.2 シール材が油漏れを引き起こす場合は、シールを交換する必要があります。
3.2.3 溶接部の油浸漏は、時間内に対処する必要があります。
3.2.4 油浸出処理後、油補充方法は 2.2.7 の項目 8 と同じです。
3.2.4.1 石油 補 充 量 :通常 の 状況 下 では 、 タン ク から 漏 出 する オイル 量が 少ない ため 、 オイル 補 充 量は タン ク 蓋 の オイル 充 填 の対象 となり 、 その 時点 の オイル 温度 と 周囲 温 度は 無視 することができます 。
3.3完全密閉変圧器の真空オイル注入の目的は、真空条件下でコイル内のガスを可能な限り除去し、変圧器オイルがコイルと絶縁材料内のギャップを埋め、変圧器の絶縁性能と耐用年数を向上させることです。油浸出による油補充量は非常に少ないため、コイルの絶対電力に影響しません。
エッジ性能 ( メーカーは真空オイル注入プロセスで規定しています : 真空オイル注入の条件下で、オイルを箱蓋から約 100 Mm 離れた場所に注入し、その後オイル注入を停止しますが、真空は 1 時間続き、その後オイルを箱蓋からオイル注入パイプから注入してオイルレベルをオイル注入パイプの上部に上昇させます ) 。
6.許可操作モード
1.定格操作モード
1.1変圧器には、指定された冷却条件下でネームプレートの仕様に従って動作できる温度保護リレーを装備する必要があります。
1.2変圧器の運転中の許容温度は、上油温上昇に応じてチェックし、上油温上昇の許容値は 55 °C ですが、最高温度は 95 °C を超えてはいけません。変圧器油の急速な老化を避けるために、上部油温はしばしば 85 ° C を超えてはいけません。
1.3ステップアップ変圧器とステップダウン変圧器の印加電圧は、定格値よりも高くすることができますが、一般的に、電圧タップがどこに位置していても、一次電圧が印加されれば、対応する電圧値の 5% を超えない場合、変圧器の二次側は定格電流を持つことができます。
2.許容過負荷
2.1変圧器は通常の過負荷と事故過負荷の下で動作することができます。通常の過負荷は定期的に使用でき、その許容値は、変圧器の負荷曲線、冷却媒体の温度中心、および過負荷前の変圧器の負荷に従って決定されます。事故過負荷は、事故の状況でのみ使用できます。たとえば、動作中のいくつかの変圧器の1つが損傷しており、バックアップ変圧器がない場合、残りの変圧器は事故の過負荷に応じて動作することができます。
2.2変圧器事故過負荷の許容値は、次の表で指定する。:
| 定格荷重に対する事故オーバーロードの比率 | 1.3 | 1.5 | 1.75 | 2.0 | 3.0 |
オーバーロードの許容時間 ( 分 ) | 120 | 45 | 20 | 10 | 1.5 |
3.許容短絡電流の不均衡電流。
3.1変圧器の短絡電流は定格電流の 25 倍を超えておらず、短絡電流通過時間は次の式により計算された値を超えてはならない。:
T = 900 / K 秒 ( K は定格電流に対する安定短絡電流の倍数 ) 。
3.2コイルが Y , yn 0 に従って接続されている変圧器の場合、中線電流は一般的に低電圧コイルの定格電流の 25% を超えてはならない ( ユーザーからの特別な要求を除く ) 。
オイル浸渍パワー変圧器の一般的なコンポーネントの取扱说明书
1.概観
この取扱説明書は、ケーシング、タップチェンジャー、圧力解放バルブ、オイルサンプルフラップ、温度計シート、アースボルト、オイルドレンバルブなど、当社の工場で製造されている電力変圧器の一般的なコンポーネントに適しています。その他の標準コンポーネントには、取扱説明書が付属しています。
2.使用 · メンテナンス
(1)35 キロボルト以下の変圧器ブッシュの取扱説明書

図1

図2図3
1.図 1 は 、 1000 ボ ルト 以下の 電 圧 で使用 される 複 合 ケー シング で 、 電 流 は 300 - 3000 A です 。図 2 は ケーブル 型 ス リー ブ で 、 電 圧 1 万 ボ ルト 、 電 流 50 - 300 A に 使用 されています 。図 3 は 、 電 圧 35 k V 、 電 流 35 - 600 A の ね じ 付き ス リー ブ を示 しています 。
2.変圧器が工場を出るとき、ケーシングは変圧器オイルタンクに組み立てられ、変圧器と一緒にユーザーに送られます。
3.磁器タイプを分解または交換する必要がある場合は、以下の方法で行う必要があります。
(1)複合ケーシングは、最初にリフティングボディを持ち上げ、次にケーシングの下部のリードを取り外し、最後にすべての締結ナットを外し、ケーシングを取り外し、磨き、乾燥した交換ケーシングを置き換えます。
(2)ケーブルタイプのケーシングについては、ケーシングを交換する際に、ケーシングを外部に取り替えることができ、交換する際にジョイントナットをねじ外し、油タンクに滑らないように銅線または糸ベルトでジョイントを引っ張って、磁器カバー、シールガスケットおよび圧力プレートなどを取り外す必要があります。
4.変圧器燃料タンクにケーシングを取り付ける際には、以下の点に留意する必要があります。:
(1)複合ケーシングでは、油漏れを防ぐために変圧器の箱カバーに磁器部分を完全にクランプするために、ケーシングの上部と下部を締め付けて磁器部のナットを締めなければなりません。
(2)ケーブル型ケーシングの場合、ケーシングを固定するプレッサーネジのナットを均等に締め、ケーシングをトランスオイルタンクにしっかり取り付けた後に導電ロッドを固定する必要があります。
5.常年使用では、磁器スリーブの表面が放出するのを防ぐために、汚れ状況に応じてケースを頻繁に洗浄する必要があります。
(2)励起タップチェンジャー無し
当社が製造している三相油浸漬全封電源変圧器には、電気がないときに高電圧サイドタップチェンジャーを交換するために、通常、ボックスカバーにWSPタイプの無負荷タップチェンジャーが装備されています。
1. WSPII1 型非励起中性点電圧レギュレータタップチェンジャの典型的な構造を図 4 に示します。
2.± 5% の電圧調節範囲内のタップチェンジャダイヤルのデジタル表示で示される電圧値については、 1 は定格電圧値の 5% のタップコネクタ、 2 は定格電圧値、 3 は定格電圧値の —5% のタップコネクタを示します。
3.タップチェンジャーの位置を変更する際には、項目 4 のカバーのねじを外して取り外し、項目 3 のハンドル位置決め部分を溝穴から引き出し、項目 2 を必要なタップ位置に回転させ、ハンドル位置決め部分を対応する溝穴に埋め込み、カバーで覆う必要があります。
4.タップチェンジャーが変圧器の必要性のためにしばしば1つの位置で動作する場合、変圧器が電圧を変更する必要があるかどうかに関係なく、接触部分の酸化膜と油汚れを除去し、良好な接触を確保するために、タップチェンジャーは少なくとも年に10回回転させるべきです。電圧を変更する必要がない場合は、回転後も元の位置に固定され、タップ位置を変更し、ブリッジまたはマルチメーターを使用してパスを測定してから操作する必要があります。
5.トランスオイルがタップチェンジャーから漏れている場合は、どこから漏れているかを調べてください。変圧器燃料タンクカバーとタップチェンジャのフランジからオイルが漏れた場合は、第 6 項のフラットナットを直ちに締め、シャフトとフランジからオイルが漏れた場合は、第 5 項のナットを締めますが、回転トルクの過度の増加を避けるために締めすぎないようにしてください。

図4 WSPIIIタイプ1タップチェンジャー
中電圧レギュレーションの場合は、WPS II.1非励起タップチェンジャーが使用され、その動作と保守方法は基本的に上記と同じです。上記以外の非励起タップチェンジャーについては、対応するタップチェンジャーマニュアルを参照してください。
(3)圧力解放弁
1.製品利用 · 性能紹介:
圧力リリーフバルブ ( 以下、リリーフバルブという。 ) は、液体またはガス絶縁の変圧器、変圧器、オンロードタップチェンジャー、高圧スイッチ、コンデンサなどの燃料タンクを保護するための製品に適しています。
変圧器またはオンロードタップチェンジャー内で事故が発生すると、変圧器の一部がガス化され、変圧器タンク内の圧力が急速に上昇します。信頼できる保護を取らなければ、タンクは変形するか、または破裂することができます。リリースバルブは変圧器タンクを損傷から保護します。燃料タンクの圧力がリリースバルブの作動圧力に達すると、リリースバルブは2ミリ秒以内に開かれ、燃料タンクの過圧を時間内に解放します。
リリースバルブが開くと、燃料タンク内の圧力が操作圧力の約53〜55% に低下し、リリースバルブを確実に閉じることができます。リリースバルブのこの特別な機能は、燃料タンクを損傷から効果的に保護することができる保護オブジェクトの特別な必要性です。タンク内の圧力が再び上昇して動作圧力に達すると、タンク内の圧力が正常値に低下するまでリリースバルブが再び作用します。変圧器の電源がオンになっているときは、11番目の安全を取り除く必要があります。
リリースバルブは動作後に確実に閉じることができるため、燃料タンクの外の空気と水は燃料タンクに入ることができず、変圧器のオイルは大気によって汚染されません。
2.モデル、仕様、基本パラメータ
2.1モデル
YSF□-□ □ □
YSF – 圧力リリーフバルブコード
□ - デザインシリアル番号
□ – 圧力をオンにする KPa
□ - オイル注入の有効な口径 Mm
□ - アラーム信号環境条件とロック装置*
※ : 1.機械信号マーク「 J 」に使用されます。
2.湿潤な熱帯地域での使用は、「 J 」マークの後に「 TH 」を追加します。
3.ロック装置を使用する場合は、その後に「 B 」を追加します。
例: YSF6 — 35 / 25JTHB
すなわち、オイル射出直径 φ 25 Mm 、開口圧力は 35 KPa 、機械的アラーム信号付きで、湿気およびホットゾーンロック装置に使用され、圧力解放弁の第 6 設計に使用されます。
2.1仕様と基本パラメータを表 1 に示します。
3.構造圧力リリーフ弁の構造を図 5 に示します。
表1仕様と基本パラメータ
有効な口径 (Mm) | 圧力をオンにする (KPa) | オープン圧力制限 偏差 (KPa). | 圧力をオフにする (KPa) | シーリング圧力 (KPa) |
φ25 φ50 | 15 | ±5 | 8 | 9 |
25 | 13.5 | 15 | ||
35 | 19 | 21 | ||
55 | 29.5 | 33 |

図5圧力解放バルブの構造の概略図
4.使用
ラッチ装置を備えたリリースバルブ装置を選択し、装置が作動する前にラッチピンを取り外す必要があります。そうしないと、バルブを開くことができません。
操作中の圧力解放バルブの操作後、再利用のために障害が見つかった後、マーカーロッドをリセットする必要があります。リリースバルブは、インストール中に任意に取り外すことはできません。
圧力リリーフバルブにはオイル漏れがあり、時間内に解決するための対策を講じる必要があります。オイル漏れの主な原因は、大まかに以下の通りです。:
A.何らかの理由で、燃料タンク内の圧力が高すぎるため、リリースバルブのシーリング圧力を超えていますが、まだ開圧に達していないため、漏れが発生しています。
B.バルブのシールリングの一部は古くなって故障しており、故障したシーラントリングはメーカーと交換する必要があります。
C.シーリング表面に異物があれば、それは時間内に除去することができます。
5.メンテナンスとオーバーホール
5.1電気機器の停電保守の機会を活用して、バルブの以下の保守を実施します。
A.オープニングアクションが敏感かどうか。
B.シーリングリングが老化、変形または損傷しているかどうか。異常が見つかった場合は、オイル漏れやゴムリングの老朽化によるリリースバルブの故障を避けるために、時間内に交換する必要があります。
C.バルブ内の異物をクリアします。
D.部品が錆びているかどうか、変形または損傷しています。
5.2検査中に交換する場合に、複数のリリーフバルブを用意する必要があります。
(4)油サンプルフラップ
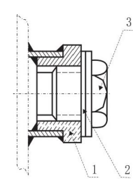
それはオイルのサンプルのための燃料タンクのより低い部分の低圧の側の方向に一般に取付けられます。使用するときは、まずカバーを外し、オイルサンプルホースをソフトジョイント1に置きます。次に、オイルがコネクタから放出されるまでプラグをゆっくりとねじ込み、完了後にカバーをねじ込みます。

図6
(5)温度計シート
変圧器のオイル表面の温度上昇を測定するため。測定のための水銀温度計はユーザーによって提供されます。温度計シートの構造を図7に示します。温度センサーソケットに変圧器オイルが充填されており、オイル表面の温度上昇が測定されたら、カバーを開いて水銀温度計を挿入します。測定後、温度計を取り出し、カバーを再度締めます。

図7
(6)接地ボルト
接地ボルトは、変圧器の全体的な接地のためにタンクの低電圧側の下部に溶接されています。その構造は図8に示されています。アイテム2のワッシャーでは、家庭用接続は接地バスバーに接続され、アイテム3のボルトは変圧器の安全な操作を確実にするために締め付けられています。簡単に識別するために、接地サインがあります。

図8
(7)オイルフラップ
オイルドレンバルブは、変圧器の事故やオイルの洗浄や排出のために、燃料タンクの低電圧側の方向に取り付けられています。

図9

完全に密封されたオイル浸された電源変圧器コンポーネント
シリアル番号 | コード | 名前 | 数量 | 備考 |
11 | タップチェンジャー | 1 | ||
10 | 信号温度計マウント | 1 | そこによりも 1000KVA | |
9 | 水銀温度計ホルダー | 1 | ||
8 | グラウンドボルト | 1 | ||
7 | オイルサンプルフラップ | 1 | ||
6 | 変圧器キャビネット | 1 | ||
5 | ガスリレー | 1 | 800KVAより多くがあります | |
4 | 低圧ケーシング | 4 | ||
3 | 高圧ケーシング | 3 | ||
2 | オイルレベルゲージ | 1 | ||
1 | 圧力リリーフバルブ | 1 |
-- -------- -------- -------- -------- -------- -------- -------- -------- -------- -------- -------- -------- -------- ----S 9 \ S 11 \ S 13 液 体 充 填 トラン ス